











Автоматический стационарный газоанализатор ГАНК 4С Ex с принудительным отбором проб, с сигнализацией превышения ПДК и подачей сигнала для срабатывания исполнительных устройств в точке отбора пробы. Преимущественно применяется для автоматического постоянного контроля воздушной среды на содержание опасных концентраций анализируемых веществ и эффективной работы автоматизированных систем управления технологическим процессом (АСУ ТП) и противоаварийной защитой (ПАЗ) в области:
- контрольно-надзорной деятельности
- предупреждения и пресечения ЧС
- контроля соблюдения технологических процессов
- обнаружения утечек и оценки состояния воздуха вокруг
- функционирования автоматизированных систем защиты
Принцип работы газоанализатора ГАНК-4С Ex
- принудительный забор пробы с помощью встроенного насоса
- световая и звуковая индикация при превышении ПДК
- отображение концентрации в мг/м3 с возможностью аналитических преобразований в осредненных значения
- альтернативные методы измерений при помощи датчиков так и с использованием Химкассет© с реактивной лентой
- температура эксплуатации от 5 до +50°С и с термостатом от -50 до 5°С
- интерфейс RS-485 с протоколом Mobdus RTU, токовая петля «4-20мА», реле типа «сухие контакты»
- межповерочный интервал 1 год, срок эксплуатации не менее 8 лет
Преимущества газоанализатора ГАНК-4С Ex
- использование во взрывоопасных помещениях
- работа в непрерывном автоматическом режиме в течение межповерочного интервала
- возможность измерения концентрации веществ 1 категории опасности: щелочи, кислоты (серная, соляная, азотная, уксусная, синильная, азотная и др.)
- возможность проведения измерений при помощи Химкассет© с реактивной лентой
- возможность изменения диапазона измерений и изменения перечня измеряемых компонентов, всего более 250 измеряемых веществ
- наличие интерфейса RS-485 с протоколом Mobdus RTU, токовой петли «4-20мА», реле типа «сухие контакты» для управления внешними исполнительными устройствами
- возможность консолидации до 128 газоанализаторов в единую сеть, простая интеграция в действующие системы автоматизированного управления технологическими процессами
- общепромышленное и взрывозащищенное исполнение с возможностью контроля уровня газа во взрывоопасной среде
- возможность просмотра данных от подключённых к сети приборов онлайн, построения аналитических выкладок, сохранение и просмотр архива измерений за выбранный период времени с помощью специализированного ПО
- первичная поверка включена в стоимость газоанализатора
Уникальные измеряемые вещества: щелочи едкие, серная кислота, азотная кислота, синильная кислота, уксусная кислота, соляная кислота, акриловая кислота
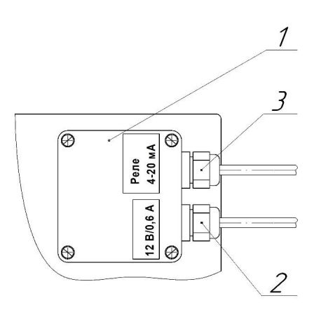
Схема подключения газоанализатора Ганк-4С Ех
Примечания:
- При выключенном приборе и при превышении ПДК контролируемого вещества контакт реле замкнут.
При включенном приборе и отсутствии превышения порога измеряемой концентрации - разомкнут.
Нагрузочная способность на контакты реле 220В, 2А. - Длины кабелей могут быть изменены по согласованию с изготовителем.
- Разъем RS-485 газоанализатора предназначен для передачи параметров в системы верхнего уровня и во взрывоопасной зоне не подключается.
Метрологические характеристики газоанализатора ГАНК-4СЕх
Для поиска вещества воспользуйтесь сочетанием клавиш (Ctrl+F)
Тип измеряемого воздуха:
А - Воздух атмосферы
Р - Воздух рабочей зоны
АР -Воздух рабочей зоны и атмосферы
Наименование | Тип измеряемого воздух | Диапазон работы |
---|---|---|
Азота диоксид (оксид азота (IV)) (Р) | Р | 1 - 40 мг/м3 |
Азота диоксид (К) (АР) | АР | 0,02 - 2 мг/м3 |
Азота оксид (оксид азота (II)) (Р) | Р | 2,5 - 100 мг/м3 |
Азота оксид (К) (АР) | АР | 0,03 - 4 мг/м3 |
Азота оксиды (Р) | Р | 2,5 - 100 мг/м3 |
Кислота азотная (Р) | Р | 1 - 40 мг/м3 |
Амины алифатические (Р) | Р | 0,5 - 20 мг/м3 |
Анилин (аминобензол) (Р) | Р | 0,05 - 2 мг/м3 |
2-Аминоэтанол (Моноэтаноламин, 2-аминоэтан-1-ол) (Р) | Р | 0,25 - 10 мг/м3 |
Аммиак (Р) | Р | 10 - 400 мг/м3 |
Ацетальдегид (этаналь, уксусный альдегид) (Р) | Р | 2,5 - 100 мг/м3 |
Ацетонитрил (уксусной кислоты нитрил) (Р) | Р | 5 - 200 мг/м3 |
Аэрозоль краски (по ксилолу) (Р) | Р | 25 - 1000 мг/м3 |
Бензальдегид (бензойный альдегид) (Р) | Р | 2,5 - 100 мг/м3 |
Бензилацетат (Р) | Р | 2,5 - 100 мг/м3 |
Бензин (Р) | Р | 50 - 2000 мг/м3 |
Бензол (Р) | Р | 2,5 - 100 мг/м3 |
Динил (смесь дифенила и дефинилового эфира) (Р) | Р | 5 - 200 мг/м3 |
Бромбензол (Р) | Р | 1,5 - 60 мг/м3 |
1-Бромгексан (Р) | Р | 0,15 - 6 мг/м3 |
Бромметан (Р) | Р | 0,5 - 20 мг/м3 |
Бромфенол (Р) | Р | 0,15 - 6 мг/м3 |
Бутадиен (Р) | Р | 50 - 2000 мг/м3 |
Бутан (Р) | Р | 150 - 6000 мг/м3 |
Масляный альдегид (бутаналь) (Р) | Р | 2,5 - 100 мг/м3 |
Бутандиол (Р) | Р | 2,5 - 100 мг/м3 |
Бутанол (бутан-1-ол, 1-бутанол, бутиловый спирт) (Р) | Р | 5 - 200 мг/м3 |
Изобутанол (бутан-2-ол, 2-метилпропанол-1) (Р) | Р | 5 - 200 мг/м3 |
Метилэтилкетон Бутанон-2 (Р) | Р | 100 - 4000 мг/м3 |
Диэтилсульфид (Р) | Р | 25 - 1000 мг/м3 |
Бутилакрилат (Р) | Р | 5 - 200 мг/м3 |
Бутилацетат (уксусный кислоты бутиловый эфир) (Р) | Р | 25 - 1000 мг/м3 |
Бутилен (2-метилпроп-1-ен, бут-1-ен) (Р) | Р | 50 - 2000 мг/м3 |
Природный газ в пересчете на метан (Р) | Р | 3500 - 35000 мг/м3 |
Топливный газ в пересчете на пропан (Р) | Р | 50 - 2000 мг/м3 |
Капролактам (Гексагидро-2Н-азепин-2-он) (Р) | Р | 5 - 200 мг/м3 |
Гексан (Р) | Р | 150 - 6000 мг/м3 |
Гексан-1-ол (Р) | Р | 5 - 200 мг/м3 |
Гептан в пересчете на гексан (Р) | Р | 150 - 6000 мг/м3 |
Гептан-1-ол по изоамиловому спирту (Р) | Р | 5 - 200 мг/м3 |
Гидразин (Р) | Р | 0,05 - 2 мг/м3 |
Гидроксибензол (фенол) (Р) | Р | 0,15 - 6 мг/м3 |
Крезолы (Р) | Р | 0,25 - 10 мг/м3 |
Гидрофторид (фтороводород) (Р) | Р | 0,25 - 10 мг/м3 |
Гидрохлорид (хлороводород) (Р) | Р | 2,5 - 100 мг/м3 |
Этилендиамин (Р) | Р | 1 - 40 мг/м3 |
Дибутилфталат (Р) | Р | 0,25 - 10 мг/м3 |
Дигидросульфид (сероводород, сульфид водорода) (Р) | Р | 5 - 200 мг/м3 |
Дизельное топливо (Р) | Р | 150 - 6000 мг/м3 |
Диметиламин (Р) | Р | 0,5 - 20 мг/м3 |
Диметилсульфид (Р) | Р | 25 - 1000 мг/м3 |
Диметилсульфоксид (Р) | Р | 10 - 400 мг/м3 |
N-N-Диметилформамид (Р) | Р | 5 - 200 мг/м3 |
Ксилидины (Р) | Р | 1,5 - 60 мг/м3 |
Диметилфталат (Р) | Р | 0,15 - 6 мг/м3 |
Ксилол (диметилбензол) (Р) | Р | 25 - 1000 мг/м3 |
Метилаль (диметоксиметан) (Р) | Р | 5 - 200 мг/м3 |
Диоктилфталат (Р) | Р | 0,5 - 20 мг/м3 |
Дихлорметан (Р) | Р | 25 - 1000 мг/м3 |
1,2-Дихлорэтан (Р) | Р | 5 - 200 мг/м3 |
Дихлорэтилен (Р) | Р | 25 - 1000 мг/м3 |
Диэтиламин (Р) | Р | 15 - 600 мг/м3 |
Диэтилбензол (Р) | Р | 5 - 200 мг/м3 |
Диэтилфталат (Р) | Р | 0,25 - 10 мг/м3 |
Ди-Железо триоксид (Р) | Р | 3 - 120 мг/м3 |
Зола (угольная) (Р) | Р | 2 - 80 мг/м3 |
Изобутан (Р) | Р | 150 - 6000 мг/м3 |
Изопропилбензол (1-метилэтил-бензол, кумол, 2-фенилпропан) (Р) | Р | 25 - 1000 мг/м3 |
Канифоль (А) | А | 0,15 - 2 мг/м3 |
Канифоль (Р) | Р | 2 - 80 мг/м3 |
Керосин (Р) | Р | 150 - 6000 мг/м3 |
Кислород (АР) | АР | 0,2% об. - 30% об. |
Марганец в сварочном аэрозоле (с содержанием до 20 %) (Р) | Р | 0,1 - 4 мг/м3 |
Масло минеральное (Р) | Р | 2,5 - 100 мг/м3 |
Медь (Р) | Р | 0,25 - 10 мг/м3 |
Метакриловая кислота (Р) | Р | 5 - 200 мг/м3 |
Метан (Р) | Р | 3500 - 35000 мг/м3 |
Метан (К) (АР) | АР | 15 - 35000 мг/м3 |
Кислота муравьиная (метановая кислота) (Р) | Р | 0,5 - 20 мг/м3 |
Метанол (метиловый спирт) (Р) | Р | 2,5 - 100 мг/м3 |
Метантиол (метилмеркаптан) (Р) | Р | 0,4 - 16 мг/м3 |
Меркаптаны (Р) | Р | 0,4 - 16 мг/м3 |
Изопрен (Р) | Р | 20 - 800 мг/м3 |
Метилакрилат (метилпроп-2- еноат) (Р) |
Р | 2,5 - 100 мг/м3 |
Метил-2-метилпроп-2-еноат (Метилметакрилат, метиловый эфир метакриловой кислоты) (Р) | Р | 5 - 200 мг/м3 |
Метилацетат (Р) | Р | 50 - 2000 мг/м3 |
Метилбензол (толуол) (Р) | Р | 25 - 1000 мг/м3 |
Метилхлорид (Р) | Р | 2,5 - 100 мг/м3 |
Метиламин (Р) | Р | 0,5 - 20 мг/м3 |
Этилтолуол (Р) | Р | 25 - 1000 мг/м3 |
Щелочь (гидроокись натрия, гидроокись калия) (Р) | Р | 0,25 - 10 мг/м3 |
Нафталин (Р) | Р | 10 - 400 мг/м3 |
Нефрас (гептановая фракция) (Р) | Р | 50 - 2000 мг/м3 |
Никель и соединения (Р) | Р | 0,025 - 1 мг/м3 |
Нитробензол (Р) | Р | 1,5 - 60 мг/м3 |
Нитрометан (Р) | Р | 15 - 600 мг/м3 |
Нитроэтан по нитрометану (Р) | Р | 15 - 600 мг/м3 |
Нитропропан по нитрометану (Р) | Р | 15 - 600 мг/м3 |
Озон (трикислород) (Р) | Р | 0,05 - 2 мг/м3 |
Диизопропиловый эфир (Р) | Р | 50 - 2000 мг/м3 |
Диметиловый эфир (Р) | Р | 150 - 4000 мг/м3 |
Диэтиленгликоль (Р) | Р | 5 - 200 мг/м3 |
Оксид алюминия (Р) | Р | 1 - 40 мг/м3 |
Оксиды железа (в сварочном аэрозоле) (Р) | Р | 3 - 120 мг/м3 |
Оксиды марганца (Р) | Р | 0,15 - 6 мг/м3 |
Оксид меди (Р) | Р | 0,25 - 10 мг/м3 |
Оксиды никеля (Р) | Р | 0,025 - 1 мг/м3 |
Оксиды хрома (в сварочном аэрозоле) (Р) | Р | 0,5 - 20 мг/м3 |
Оксид цинка (Р) | Р | 0,25 - 10 мг/м3 |
Кислота ортофосфорная (Р) | Р | 0,5 - 20 мг/м3 |
Пентан (Р) | Р | 150 - 6000 мг/м3 |
Глутаровый альдегид (пентандиаль) (Р) | Р | 2,5 - 100 мг/м3 |
Пентан-1-ол (спирт амиловый) (Р) | Р | 5 - 200 мг/м3 |
Диэтилендиамин (пиперазин) (Р) | Р | 0,5 - 20 мг/м3 |
Пиридин (Р) | Р | 2,5 - 100 мг/м3 |
Пропан (Р) | Р | 50 - 2000 мг/м3 |
Пропан-1-ол (Р) | Р | 5 - 200 мг/м3 |
Пропан-2-ол (изопропанол, изопропиловый спирт) (Р) | Р | 5 - 200 мг/м3 |
Ацетон (пропан-2он) (Р) | Р | 100 - 4000 мг/м3 |
Акрилонитрил (проп-2-енонитрил) (Р) | Р | 0,25 - 10 мг/м3 |
Акролеин (проп-2ен-1-аль) (Р) | Р | 0,1 - 4 мг/м3 |
Кислота акриловая (Р) | Р | 2,5 - 100 мг/м3 |
Пропен (пропилен) (Р) | Р | 25 - 1000 мг/м3 |
Пыль (бумажная) (Р) | Р | 1 - 40 мг/м3 |
Пыль (взвешенные вещества) (Р) | Р | 1 - 40 мг/м3 |
Пыль (10 %>SiO2>2 %) (Р) | Р | 2 - 80 мг/м3 |
Пыль (20 %>SiO2>10 %) (Р) | Р | 1 - 40 мг/м3 |
Пыль (70 %>SiO2>20 %) (Р) | Р | 1 - 40 мг/м3 |
Пыль (SiO2<2%) (Р) | Р | 3 - 120 мг/м3 |
Пыль (SiO2>70%) (Р) | Р | 1 - 40 мг/м3 |
Пыль (доменного шлака) (Р) | Р | 3 - 120 мг/м3 |
Пыль (древесная) (Р) | Р | 3 - 120 мг/м3 |
Пыль (зерновая) (Р) | Р | 2 - 80 мг/м3 |
Пыль (мучная) (Р) | Р | 3 - 120 мг/м3 |
Пыль (хлопковая) (Р) | Р | 0,25 - 10 мг/м3 |
Пыль (цементная) (Р) | Р | 4 - 160 мг/м3 |
Свинец и его неорганические соединения (Р) | Р | 0,025 - 1 мг/м3 |
Элегаз (сера гексафторид) (Р) | Р | 10 - 12000 мг/м3 |
Ангидрид сернистый (сера диоксид, оксид серы (IV)) (Р) | Р | 5 - 200 мг/м3 |
Кислота серная (Р) | Р | 0,5 - 20 мг/м3 |
Сероуглерод (углерод дисульфид, сульфид углерода (IV)) (Р) | Р | 1,5 - 60 мг/м3 |
Скипидар (Р) | Р | 150 - 6000 мг/м3 |
Сольвент-нафта (Р) | Р | 50 - 2000 мг/м3 |
Спирт аллиловый (Р) | Р | 1 - 40 мг/м3 |
Тетралин (Р) | Р | 12 - 400 мг/м3 |
Тетрахлорэтилен (Р) | Р | 5 - 200 мг/м3 |
Тетрахлорметан (углерод 4-х хлористый, перхлорметан) (Р) | Р | 5 - 200 мг/м3 |
Тиокарбамид (Тиомочевина) (Р) | Р | 0,15 - 6 мг/м3 |
Бромоформ (Р) | Р | 2,5 - 100 мг/м3 |
Трихлорметан (Р) | Р | 2,5 - 100 мг/м3 |
Трихлорэтилен (Р) | Р | 5 - 200 мг/м3 |
Триэтаноламин (Р) | Р | 2,5 - 100 мг/м3 |
Триэтиламин (Р) | Р | 5 - 200 мг/м3 |
Уайт-спирит (Р) | Р | 150 - 6000 мг/м3 |
Углеводороды предельные С1-С5 в пересчете на метан (Р) | Р | 3500 - 35000 мг/м3 |
Предельные углеводороды С1-С10 в пересчете на гексан (Р) | Р | 150 - 6000 мг/м3 |
Предельные углеводороды С6-С10 в пересчете на гексан (Р) | Р | 150 - 6000 мг/м3 |
Углеводороды предельные С12-С19 (Р) | Р | 50 - 2000 мг/м3 |
Углерода диоксид (диоксид углерода) (Р) | Р | 4500 - 180000 мг/м3 |
Углерод оксид (угарный газ, монооксид углерода) (Р) | Р | 10 - 400 мг/м3 |
Углерода оксид (К) (АР) | АР | 1 - 50 мг/м3 |
Углерод (сажа) (Р) | Р | 2 - 80 мг/м3 |
Спирт бензиловый (Р) | Р | 2,5 - 100 мг/м3 |
Ацетофенон (Р) | Р | 2,5 - 100 мг/м3 |
Формальдегид (метаналь) (Р) | Р | 0,25 - 10 мг/м3 |
Формальдегид (К) (АР) | АР | 0,015 - 0,35 мг/м3 |
Формамид (Р) | Р | 1,5 - 60 мг/м3 |
Трифторхлорметан (Фреон 13) (Р) | Р | 1500 - 9000 мг/м3 |
Тетрафторметан (Фреон 14) (Р) | Р | 1500 - 8000 мг/м3 |
Дихлорфторметан (Фреон 21) (Р) | Р | 1500 - 9000 мг/м3 |
Дифторхлорметан (фреон 22) (Р) | Р | 1500 - 8000 мг/м3 |
Трифторметан (Фреон 23) (Р) | Р | 1500 - 6000 мг/м3 |
1,1,дихлор- 1-фторэтан (Фреон 141в) (Р) | Р | 500 - 10000 мг/м3 |
1,2,2-трифтор-1,1,2-трихлорэтан (фреон 113), (Р) | Р | 2500 - 16000 мг/м3 |
1,1,1-трифтор-2.2-дихлорэтан (Фреон 123) (по фреону 113) (Р) |
Р | 50 - 13000 мг/м3 |
1,1,1,2- тетрафторэтан (Фреон 134 а) (Р) | Р | 1500 - 9000 мг/м3 |
Пентафторэтан (Фреон 125) (Р) | Р | 1500 - 10000 мг/м3 |
1,1,1-Трифторэтан (Фреон 143) (Р) | Р | 1500 - 7000 мг/м3 |
1,2 Дибром- 1,1,2,2-тетрафторэтан (Фреон 114 в2) (Р) | Р | 500 - 22000 мг/м3 |
Фреон 404а (Смесь фреонов 125, 134а, 143а) (Р) | Р | 2000 - 8000 мг/м3 |
Фреон 407а (Смесь фреонов R32, R125, R134a) (Р) | Р | 1750 - 8000 мг/м3 |
Фреон 507а (Смесь фреонов 125, 143) (Р) | Р | 2000 - 9000 мг/м3 |
Фреон 410а (Смесь фреонов 125,32) (Р) | Р | 1500 - 6000 мг/м3 |
Фурфурол (Р) | Р | 5 - 200 мг/м3 |
Хлор (Р) | Р | 0,5 - 20 мг/м3 |
Хлористый аллил (Р) | Р | 0,15 - 6 мг/м3 |
Хлорбензол (Р) | Р | 25 - 1000 мг/м3 |
Хлоропрен (Р) | Р | 1 - 40 мг/м3 |
Хлортолуол (Р) | Р | 5 - 200 мг/м3 |
(Хлорметил)оксиран (Эпихлоргидрин) (Р) | Р | 0,5 - 20 мг/м3 |
(Хлорметил)оксиран (Эпихлоргидрин) (АР) | АР | 0,02 - 0,5 мг/м3 (А) 0,5 - 20 мг/м3 (Р) |
Этилхлорид (Р) | Р | 25 - 1000 мг/м3 |
2-Хлорэтанол-1 (Р) | Р | 0,25 - 10 мг/м3 |
Винилхлорид (Р) | Р | 0,5 - 20 мг/м3 |
Ди-Хром триоксид (по хрому (III)) (Р) | Р | 0,5 - 20 мг/м3 |
Циклогексанон (Р) | Р | 5 - 200 мг/м3 |
Эпоксиэтан (этилена оксид, оксиран) (Р) | Р | 0,5 - 20 мг/м3 |
Этан (Р) | Р | 150 - 6000 мг/м3 |
Этанол (этиловый спирт) (Р) | Р | 500 - 20000 мг/м3 |
Этиленгликоль (Р) | Р | 2,5 - 100 мг/м3 |
Кислота уксусная (Р) | Р | 2,5 - 100 мг/м3 |
Этилен (Р) | Р | 25 - 1000 мг/м3 |
Винилацетат (этенилацетат, уксусной кислоты виниловый эфир) (Р) | Р | 5 - 200 мг/м3 |
Этенилбензол (стирол) (Р) | Р | 5 - 200 мг/м3 |
Этиламин (Р) | Р | 5 - 200 мг/м3 |
Этилацетат (Р) | Р | 25 - 1000 мг/м3 |
Этилбензол (Р) | Р | 25 - 1000 мг/м3 |
Спирт изооктиловый (Р) | Р | 5 - 200 мг/м3 |
Диэтиловый эфир (Р) | Р | 150 - 6000 мг/м3 |
Этантиол (этилмеркаптан) (Р) | Р | 0,5 - 20 мг/м3 |
2-Этоксиэтанол (этилцеллозольв) (Р) | Р | 5 - 200 мг/м3 |
Трихлорфторметан (Фреон 11) (Р) | Р | 500 - 9000 мг/м3 |
Дифтордихлорметан (Фреон 12) (Р) | Р | 1500 - 9000 мг/м3 |
Изооктан в пересчете на гексан (Р) | Р | 150 - 6000 мг/м3 |
Карбамид (мочевина) (Р) | Р | 5 - 200 мг/м3 |
Марганец в сварочном аэрозоле (с содержанием от 20 до 30 %) (Р) | Р | 0,05 - 2 мг/м3 |
Марганец сульфат (Р) | Р | 0,25 - 10 мг/м3 |
Медь сульфат (Р) | Р | 0,25 - 10 мг/м3 |
Алюминий фосфат (алюминий фосфорнокислый) (Р) | Р | 3 - 120 мг/м3 |
Железа сульфат (Р) | Р | 1 - 40 мг/м3 |
Железо (Р) | Р | 5 - 200 мг/м3 |
Кальций сульфат (Р) | Р | 1 - 40 мг/м3 |
Магний сульфат (Р) | Р | 1 - 40 мг/м3 |
Олово четыреххлористое (Р) | Р | 2 - 80 мг/м3 |
Хром (III) фосфат (Р) | Р | 1 - 40 мг/м3 |
Хромовой кислоты соли (в пересчете на Cr (VI)) (Р) | Р | 0,005 - 0,2 мг/м3 |
Цинк сульфид (Р) | Р | 2,5 - 100 мг/м3 |
Масло сивушное (Р) | Р | 5 - 200 мг/м3 |
Метилбутандиол (Р) | Р | 2,5 - 100 мг/м3 |
Октан-1-ол по изоамиловому спирту (Р) | Р | 5 - 200 мг/м3 |
Спирт изоамиловый по изоамиловому спирту (Р) | Р | 5 - 200 мг/м3 |
Спирт нониловый по изоамиловому спирту (Р) | Р | 5 - 200 мг/м3 |
6-Аминогексановая кислота (Р) | Р | 1 - 40 мг/м3 |
Оксид кальция (Р) | Р | 0,5 - 20 мг/м3 |
Оксид магния (Р) | Р | 2 - 80 мг/м3 |
Оксид олова (Р) | Р | 0,1 - 4 мг/м3 |
Оксиды свинца (Р) | Р | 0,025 - 1 мг/м3 |
Октан в пересчете на гексан (Р) | Р | 150 - 6000 мг/м3 |
Декан в пересчете на гексан (Р) | Р | 150 - 6000 мг/м3 |
Нонан в пересчете на гексан (Р) | Р | 150 - 6000 мг/м3 |
Изопентан в пересчете на пентан (Р) | Р | 150 - 6000 мг/м3 |
ДМДС (Диметилдисульфид) (Р) | Р | 0,35 - 30 мг/м3 |
Синильная кислота (Р) | Р | 0,11 - 33,7 мг/м3 |
Соли синильной кислоты (Р) | Р | 0,11 - 33,7 мг/м3 |
Гипохлорит натрия (Р) | Р | 2,5 - 100 мг/м3 |
Гипохлорит кальция (Р) | Р | 0,5 - 20 мг/м3 |
Бром (Р) | Р | 0,25 - 10 мг/м3 |
Фтор (Р) | Р | 0,015 - 3,94 мг/м3 |
НДМГ (гептил) (Р) | Р | 0,5 - 20 мг/м3 |
Водород (Р) | Р | 0,2% об. - 10% об. |
Арсин (Р) | Р | 0,05 - 2 мг/м3 |
Перекись водорода (Р) | Р | 0,15 - 6 мг/м3 |
Углекислый натрий (Р) | Р | 1 - 40 мг/м3 |
Оксид олова (II) (Р) | Р | 3 - 120 мг/м3 |
Сульфат олова (II) (Р) | Р | 3 - 120 мг/м3 |
Хлорид олова (II) (Р) | Р | 3 - 120 мг/м3 |
Фурфуриловый спирт (Р) | Р | 0,1 - 10 мг/м3 |
Пропиленоксид (Р) | Р | 0,5 - 20 мг/м3 |
Метилдиэтаноламин (Р) | Р | 2,5 - 100 мг/м3 |
Олефины С8-С10 (по октену) (Р) | Р | 50 - 2000 мг/м3 |
1,1,2-трихлорэтан (Р) | Р | 0,5 - 400 мг/м3 |
Дициклопентадиен (Р) | Р | 0,5 - 20 мг/м3 |
Циклогексан (Р) | Р | 40 - 1600 мг/м3 |
Пары нефти (по сольвенту) (Р) | Р | 50 - 2000 мг/м3 |
Малеиновый ангидрид (Р) | Р | 0,5 - 10 мг/м3 |
Хлорид железа (Р) | Р | 0,5 - 10 мг/м3 |
Сульфат алюминия (Р) | Р | 0,5 - 10 мг/м3 |
Гидроксид кальция (Р) | Р | 1 - 40 мг/м3 |
Марганец и соединения (Р) | Р | 1 - 40 мг/м3 |
Аэрозоль сварочный (по марганцу) (А) | Р | 0,1 - 4 мг/м3 |
Хром (VI) триоксид (Р) | Р | 0,005 - 0,2 мг/м3 |
Железо и соединения (Р) | Р | 5 - 200 мг/м3 |
Алюминий и соединения (Р) | Р | 0,1 - 2,5 мг/м3 |
Медь и соединения (Р) | Р | 0,25 - 10 мг/м3 |
2,4-толуилендиизоцианат (АР) | АР | 0,02 - 1,0 мг/м3 |
Метилендифенилдиизоцианат (МДИ) (АР) | АР | 0,05 - 10 мг/м3 |
Хром (III) сернокислый 6-водный (Р) | Р | 0,01 - 0,4 мг/м3 |
Щавелевая кислота (по муравьиной кислоте) (Р) | Р | 0,5 - 20,0 мг/м3 |
трет-Бутилметиловый эфир (Р) | Р | 150 - 6000 мг/м3 |
Марганец в сварочном аэрозоле (А) | А | 0,0005 - 0,1 мг/м3 |
Р | 0,1 - 4 мг/м3 | |
АР | 0,0005 - 4 мг/м3 | |
Фосфин (А) | А | 0,005 - 0,05 мг/м3 |
Фосфин (Р) | Р | 0,05 - 2 мг/м3 |
Фосфин (АР) | АР | 0,005 - 2 мг/м3 |
Фосген (Р) | Р | 0,25 - 10 мг/м3 |
Ацетилен (Р) | Р | 150 - 60000 мг/м3 |
МИБК (метил изобутил кетон) (Р) | Р | 10 - 400 мг/м3 |
Оксид диазота (Р) | Р | 10 - 200 мг/м3 |
Лимонная кислота (А) | А | 0,025 - 0,5 мг/м3 |
Лимонная кислота (Р) | Р | 0,5 - 20 мг/м3 |
Лимонная кислота (АР) | АР | 0,025 - 20 мг/м3 |
Кобальт сернокислый семиводный (А) | А | 0,0005 - 0,5 мг/м3 |
Кобальт сернокислый семиводный (Р) | Р | 0,5 - 20 мг/м3 |
Кобальт сернокислый семиводный (АР) | АР | 0,0005 - 20 мг/м3 |
Цинк сульфат (в пересчете на цинк) (Р) | Р | 0,004 - 0,16 мг/м3 |
Нитрит натрия/ нитрит иона (А) | А | 0,025 - 0,05 мг/м3 |
Нитрит натрия/ нитрит иона (Р) | Р | 0,05 - 4 мг/м3 |
Нитрит натрия/ нитрит иона (АР) | АР | 0,025 - 4 мг/м3 |
Предельные углеводороды С2H6 – C7H16 (по гексану) (К) (АР) | АР | 1 - 500 мг/м3 |
Кальций оксид (Р) | Р | 0,5 - 20 мг/м3 |
Гидросульфит натрия (Р) | Р | 2,5 - 100 мг/м3 |
Диметилдитиокарбамат натрия (Р) | Р | 0,25 - 10 мг/м3 |
Тетраэтиленгликоль (Р) | Р | 5 - 200 мг/м3 |
Гидроксид лития (Р) | Р | 0,01 - 0,4 мг/м3 |
Бутилксантогенат калия (Р) | Р | 5 - 200 мг/м3 |
Малеиновая кислота (Р) | Р | 0,1 - 4 мг/м3 |
Триэтилфосфат (по фосфорной кислоте) (Р) | Р | 0,5 - 20 мг/м3 |
Натрия сульфид (натрий сернистый) (Р) | Р | 0,1 - 4 мг/м3 |
Кадмий и соли кадмия (Р) | Р | 0,025 - 1 мг/м3 |
Трибутилфосфат (АР) | АР | 0,005 - 10 мг/м3 |
Неорганические соединения по ртути (Р) | Р | 0,025 - 1 мг/м3 |
Трехокись серы (Р) | Р | 0,5 - 20 мг/м3 |
Диоксановый спирт (Р) | Р | 5 - 200 мг/м3 |
Бромистый водород (Р) | Р | 0,5 - 20 мг/м3 |
Циклогексиламин (Р) | Р | 0,5 - 20 мг/м3 |
TEB триэтилборан (Р) | Р | 17,5 - 700 мг/м3 |
Тетраэтоксисилан (Р) | Р | 10 - 400 мг/м3 |
Трет-Бутанол (Р) | Р | 5 - 200 мг/м3 |
Трифторид бора (по фтороводороду) (Р) | Р | 0,5 - 20 мг/м3 |
Трихлорид бора (по хлороводороду) (Р) | Р | 0,5 - 20 мг/м3 |
Дихлорсилан (по хлороводороду) (Р) | Р | 2,5 - 100 мг/м3 |
Нитрил акриловой кислоты (Р) | Р | 0,0005 - 0,02 мг/м3 |
Моносилан (АР) | АР | 0,01 - 50 мг/м3 |
Азот трехфтористый (Р) | Р | 0,2 - 8 мг/м3 |
Гексафторэтан (Р) | Р | 1500 - 60000 мг/м3 |
Гексафторид вольфрама (Р) | Р | 0,25 - 10 мг/м3 |
Метилфторид (Р) | Р | 1,25 - 50 мг/м3 |
Хлорид кремния(IV) (Р) | Р | 0,5 - 20 мг/м3 |
Оксихлорид фосфора (Р) | Р | 0,025 - 1 мг/м3 |
Фторид кремния(IV) (Р) | Р | 0,5 - 20 мг/м3 |
Хлорид германия(IV) (Р) | Р | 0,5 - 20 мг/м3 |
Трибромид бора (Р) | Р | 1 - 40 мг/м3 |
Бутилхлорид (1-хлорбутан) (Р) | Р | 0,25 - 10 мг/м3 |
Трет-бутилакрилат (Р) | Р | 0,25 - 10 мг/м3 |
2-этилгексилакрилат (Р) | Р | 0,25 - 10 мг/м3 |
Диизодецилфталат (Р) | Р | 2,5 - 100 мг/м3 |
Хлорпарафины (Р) | Р | 2,5 - 100 мг/м3 |
Циклопентадиен (Р) | Р | 0,05 - 2 мг/м3 |
Диоксид хлора (Р) | Р | 0,05 - 2 мг/м3 |
Тетракарбонил никеля (Р) | Р | 0,1 - 280 мг/м3 |
Морфолин (Р) | Р | 0,25 - 10 мг/м3 |
Канифоль талловая (Р) | Р | 2,4 - 80 мг/м3 |
Хлорная кислота (Р) | Р | 0,1 - 20 мг/м3 |
N-метиланилин (метиламинобензол) (Р) | Р | 0,1 - 4 мг/м3 |
Гексахлорбутадиен (Р) | Р | 0,0025 - 0,1 мг/м3 |
1,4-Диоксан (Р) | Р | 5 - 200 мг/м3 |
Нитрат калия (Р) | Р | 2,5 - 100 мг/м3 |
Нитрат натрия (Р) | Р | 2,5 - 100 мг/м3 |
Нитрат аммония (Р) | Р | 5 - 200 мг/м3 |
Триполифосфат натрия (Р) | Р | 5 - 200 мг/м3 |
Тиосульфат натрия (Р) | Р | 5 - 200 мг/м3 |
Тетраоксид диазота (Р) | Р | 0,1 - 40 мг/м3 |
Углеводороды алифатические предельные С2-С10 (в пересчете на С) (АР) | АР | 30 - 6000 мг/м3 |
н-метипирролидон (Р) | Р | 50 - 2000 мг/м3 |
N,N-диметилацетамид (Р) | Р | 1,5 - 60 мг/м3 |
Три(1-хлор-2-пропил)фосфат (АР) | АР | 0,05 - 10 мг/м3 |
Тетракарбонил никеля (Р) | Р | 0,0005 - 0,1 мг/м3 |
2-Этилгексановая кислота (Р) | Р | 2,5 - 100 мг/м3 |
Диметил-1,4-диоксан (Р) | Р | 5 - 200 мг/м3 |
Чтобы приобрести понравившийся товар, необходимо его заказать. Есть несколько сценариев того, как это можно сделать.
- Выбрать понравившийся товар и нажать кнопку «Заказать». При оформлении заказа заполнить форму. Вписать информацию в поля: ФИО, телефон и e-mail. Затем вам перезвонит менеджер, чтобы подтвердить ваше согласие на совершение покупки.
- Выбрать понравившийся товар и нажать кнопку «В корзину». Затем перейти в корзину и нажать «Оформить заказ». Далее заполнить форму с контактными данными и отправить заявку. С вами свяжется менеджер для дальнейшего обсуждения.
- Перейти в карточку товара и нажать «Купить в один клик». После нажатия нужно заполнить форму и отправить заявку. С вами свяжется менеджер для дальнейшего обсуждения.
Безналичный расчет (оплата по счёту). Форма расчета: предоплата 50%. Оставшаяся сумма перечисляется на счет Поставщика в течение 5 (Пяти) рабочих дней после уведомления о готовности Товара к отгрузке. Работаем только с юридическими лицами. Иные условия оплаты согласовываются с менеджером после получения официального запроса (заявки).
Самовывоз со склада г. Москва. Доставка продукции осуществляется путём самовывоза со склада Поставщика, расположенного по адресу: г. Москва, ул. Ибрагимова, д. 31, корп. 10. Для получения товара необходимо предоставить доверенность от организации или иметь при себе печать.
Доставка транспортной компанией. Стоимость данной услуги будет зависеть от веса/габаритов груза, пункта назначения и будет включена в стоимость товара.
Наши контакты
Услуги
Компания ООО "НПО "ПРИБОР" ГАНК" предлагает свои услуги по прохождению государственной поверки газоанализаторов и приборов газового контроля. Наша лаборатория оснащена современным оборудованием и поверочно-газовыми средами для прохождения поверки газоанализаторов всех видов, переносных и стационарных моделей. Мы имеем возможность поверять газоанализаторы на широкий перечень горючих и токсичных газов. Наша лаборатория позволяет поверить более 200 измеряемых веществ (газов), что обеспечивает нашим клиентам широкие возможности для контроля и безопасности.